U1HR Prijímač 1-kanálový, superheterodyn - ELMES
Kód: EC-12595Súvisiaci tovar
Bitner
Elmes
Senzor pohybu IP65 O-OR-CR-289/W je praktické riešenie pre automatické spínanie osvetlenia v interiéri aj exteriéri. Ponúka detekciu pohybu v uhle 240° a dosah až 14 m, takže...
Vonkajší pohybový senzor Orno O-OR-CR-264 s detekciou v rozsahu 360° automaticky spína osvetlenie alebo iné elektrické zariadenia. Vďaka krytiu IP65 je vhodný na vonkajšie...
PIR pohybový senzor O-OR-CR-253 od Orno je spoľahlivý stropný senzor pohybu pre domácnosti aj komerčné priestory. Vďaka 360° detekcii, trom detektorom a dosahu až 10 m efektívne...
Vonkajšie nástenné svietidlo s PIR senzorom pohybu a päticou E27 pre žiarovku do 60 W. Automaticky rozsvieti svetlo pri pohybe v uhle 180° a je vhodné na fasádu, k vchodu, do...
Satel Typ senzora: PIR - Pasívna infračervená
Podrobný popis
U1HR Jednokanálový prijímač, superheterodyn - ELMES
U1 HR je modernizovaná a zmenšená verzia populárneho prijímača UMB100HR pre bezpečnostné systémy, diaľkové ovládanie a kontrolu prístupu.
Špecifikácia:
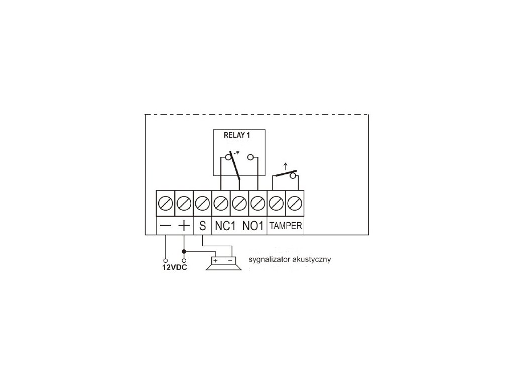
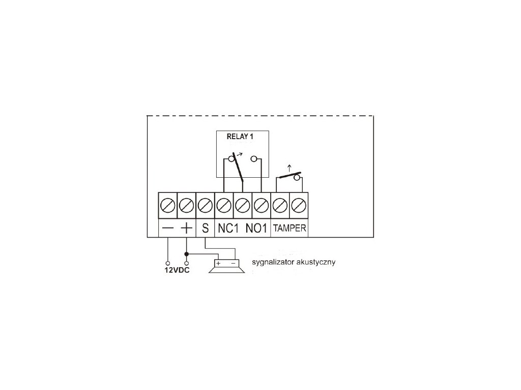
- reléový výstup typu NC/NO s možnosťou naprogramovania režimu práce
- výstup S typu OC ovládajúci signalizáciu zmeny stavu relé
- dvojfarebná LED signalizujúca stav reléového výstupu
- pamäť umožňujúca naprogramovanie do 112 diaľkových ovládačov
- variabilné kódovanie prenosu KEELOQ
- superheterodynové rádio s dosahom na otvorenom priestranstve až 100 m
- napájanie 11 - 17 VDC, 25 mA (+25 mA na každé zapojené relé)
- vonkajšie rozmery prijímača (v/š/d) 24/46/73 mm
Galvanicky oddelený výstup prijímača má tri svorky: spoločnú, NC a NO (na výber). Môže pracovať v niekoľkých režimoch:
- kód z ovládača zapne výstup na naprogramovaný čas, ďalší - predĺži čas zapnutia
- ovládač striedavo zapína a vypína výstup
- výstup je zapnutý tak dlho, ako je stlačené tlačidlo ovládača
- jedno tlačidlo ovládača zapne výstup, a druhé - vypne (ovládač aspoň dvojkanálový)
Signalizačný výstup S (typu OC) môže ovládať akustickú alebo optickú signalizáciu prepnúťia výstupného relé.
Dvojfarebná LED signalizuje aktuálny stav výstupného relé.
Rádiový obvod systému typu superheterodyn s vysokou citlivosťou a selektivitou zabezpečuje dosah do 100 m na otvorenom priestranstve.
Pamäť prijímača umožňuje naprogramovanie až 112 ovládačov.
Variabilné kódovanie KEELOQ účinne znemožňuje neoprávnené použitie pomocou zachytených kódov.
Tlačidlo PROG1 a prepojky JP1 a JP2 na doske prijímača umožňujú konfiguráciu funkcií systému.
Podrobnosti o procedúre spustenia a programovania nájdete v
PIR snímač pohybu 360° O-OR-CR-276/W je praktický stropný senzor s povrchovou montážou, ktorý spoľahlivo automaticky zapína osvetlenie pri zaznamenaní pohybu. Ponúka dosah až 8...
Satel
Mikrovlnný pohybový senzor O-OR-CR-278 so snímaním v rozsahu 360° je určený na automatické spínanie osvetlenia a ďalších zariadení s príkonom až 1200 W. Ponúka nastavenie...
Risco
Satel
PIR pohybový senzor 360° O-OR-CR-224 od značky Orno je praktické riešenie pre automatické snímanie pohybu v interiéri. Vďaka trom detektorom a 360° záberu spoľahlivo monitoruje...
Mikrovlnný senzor 360/180° O-OR-CR-281 je kompaktný pohybový snímač na automatické spínanie osvetlenia podľa pohybu. Ponúka široký detekčný záber, nastaviteľnú citlivosť na...
Pohybový senzor Orno O-OR-CR-262/W s detekčným uhlom 220° je určený na automatické ovládanie osvetlenia v exteriéri. Vďaka krytiu IP65 spoľahlivo funguje aj vo vonkajšom...
Genevo
SenzorDisponuje tromi detektormi pre dôkladné pokrytie priestoru.Inštalácia je jednoduchá a rýchla bez potreby zložitého nastavovania.Vhodný pre vnútorné prostredie s krytím...
Hodnotenie tovaru
Buďte prvý, kto napíše príspevok k tejto položke.
Diskusia
Buďte prvý, kto napíše príspevok k tejto položke.
